Operator's Manual

ChassisMaintenance
AdjustingtheCargo-Bed
Latches
Ifthecargo-bedlatchisoutofadjustment,thecargo
bedvibratesupanddownasyoudrivethemachine.
Youcanadjustthelatchpoststomakethelatches
holdthecargobedsnuglytothechassis.
1.Verifythatthecargobedislatching.
Note:Ifthecargobeddoesnotlatch,the
bed-latchstrikerislikelytoolow.Ifthecargo
bedlatches,butvibratesupanddownasyou
drive,thebed-latchstrikerislikelytoohigh.
2.Raisethecargobed;RaisingtheCargoBedto
theDumpPosition(page20).
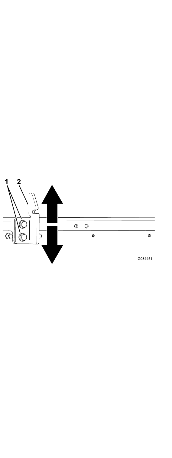
3.Loosenthe2boltsonthebed-latchstrikerand
movethestrikerupordown,dependingonifthe
strikeristoohighortoolow(Figure68).
g034451
Figure68
1.Bolts2.Bed-latchstriker
4.Tightenthe2boltsonthebed-latchstriker
(Figure68).
5.Verifythattheadjustmentiscorrectbylatching
thecargobedseveraltimes.
Cleaning
WashingtheMachine
ServiceInterval:Beforeeachuseordaily—Wash
themachine.
Washthemachineasneededusingwateralone
orwithamilddetergent.Youmayusearagwhen
washingthemachine.
Important:Donotusebrackishorreclaimed
watertocleanthemachine.
Important:Donotusepower-washingequipment
towashthemachine.Power-washingequipment
maydamagetheelectricalsystem,loosen
importantdecals,orwashawaynecessarygrease
atfrictionpoints.Avoidexcessiveuseofwater
nearthecontrolpanel,engine,andbattery.
Important:Donotwashthemachinewiththe
enginerunning.Washingthemachinewiththe
enginerunningmayresultininternalengine
damage.
55