Operator's Manual
Manuals
Brands
Toro Manuals
Attachments
Covered Boom Kit, Multi-Pro 5700/5800 Turf Sprayer with Truss-Style Boom
1
2
3
4
Table Of Contents
.
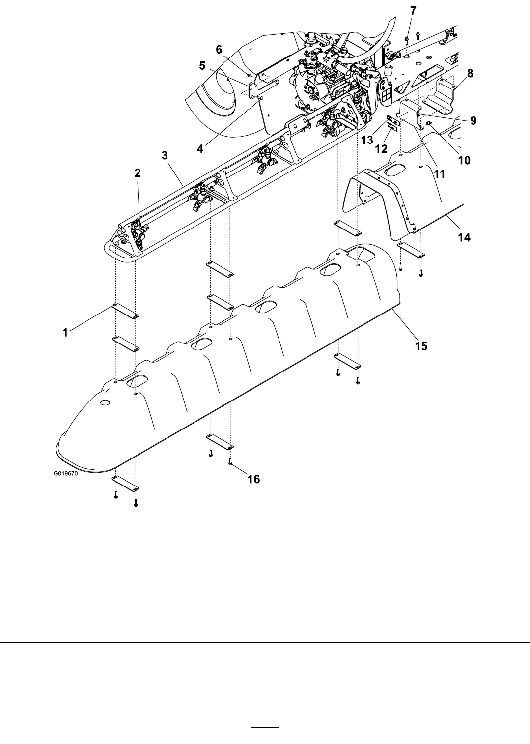
1 安装中央喷洒臂支架和护罩
2 安装侧翼喷洒臂护罩
3 安装排水阀安装支架
4 检查各喷洒臂护罩的间隙
16
G019670
图
图
图
2
2
2
2014
年
及
更
早
型
号
:
1.
垫
片
(18)
7.
六角
头螺
栓,
3/8
x
1–1/4
英寸
(4
)
13.
型
号
/
序
列
号
标
贴
2.
喷
嘴
(
方
向正
确)
8.
喷
洒
臂
安装
支
架
(
2
)
14.
中
央
喷
洒
臂
护罩
3.
侧
翼
喷
洒
臂
(
2
)
9.
凸
缘
螺母
,
3/8
英
寸(
4
)
15.
侧
翼
喷
洒臂
护
罩
(
2
)
4.
托
架
螺
栓
(
2
)
10.
U
形
螺
母(
16)
16.
六
角
头
螺
栓
,
5/16
x
1–1/4
英
寸
(
16
)
5.
排
水
阀
安
装
支架
11.
中
央
喷
洒臂
支
架
(
2
)
6.
凸
缘
螺母
,
5/16
英寸
(
2
)
12.
合
规
标
贴
4
1
...
2
3
4