Operator's Manual

Form Form
Form
No. No.
No.
3369-972 3369-972
3369-972
Rev Rev
Rev
A A
A
护 护
护
罩 罩
罩
式 式
式
喷 喷
喷
洒 洒
洒
臂 臂
臂
套 套
套
件 件
件
Multi-Pro Multi-Pro
Multi-Pro
5700/5800 5700/5800
5700/5800
桁 桁
桁
架 架
架
臂 臂
臂
式 式
式
草 草
草
坪 坪
坪
打 打
打
药 药
药
车 车
车
型 型
型
号 号
号
41602 41602
41602
— —
—
序 序
序
列 列
列
号 号
号
: :
:
311000001 311000001
311000001
及 及
及
以 以
以
上 上
上
操 操
操
作 作
作
员 员
员
手 手
手
册 册
册
图 图
图
1 1
1
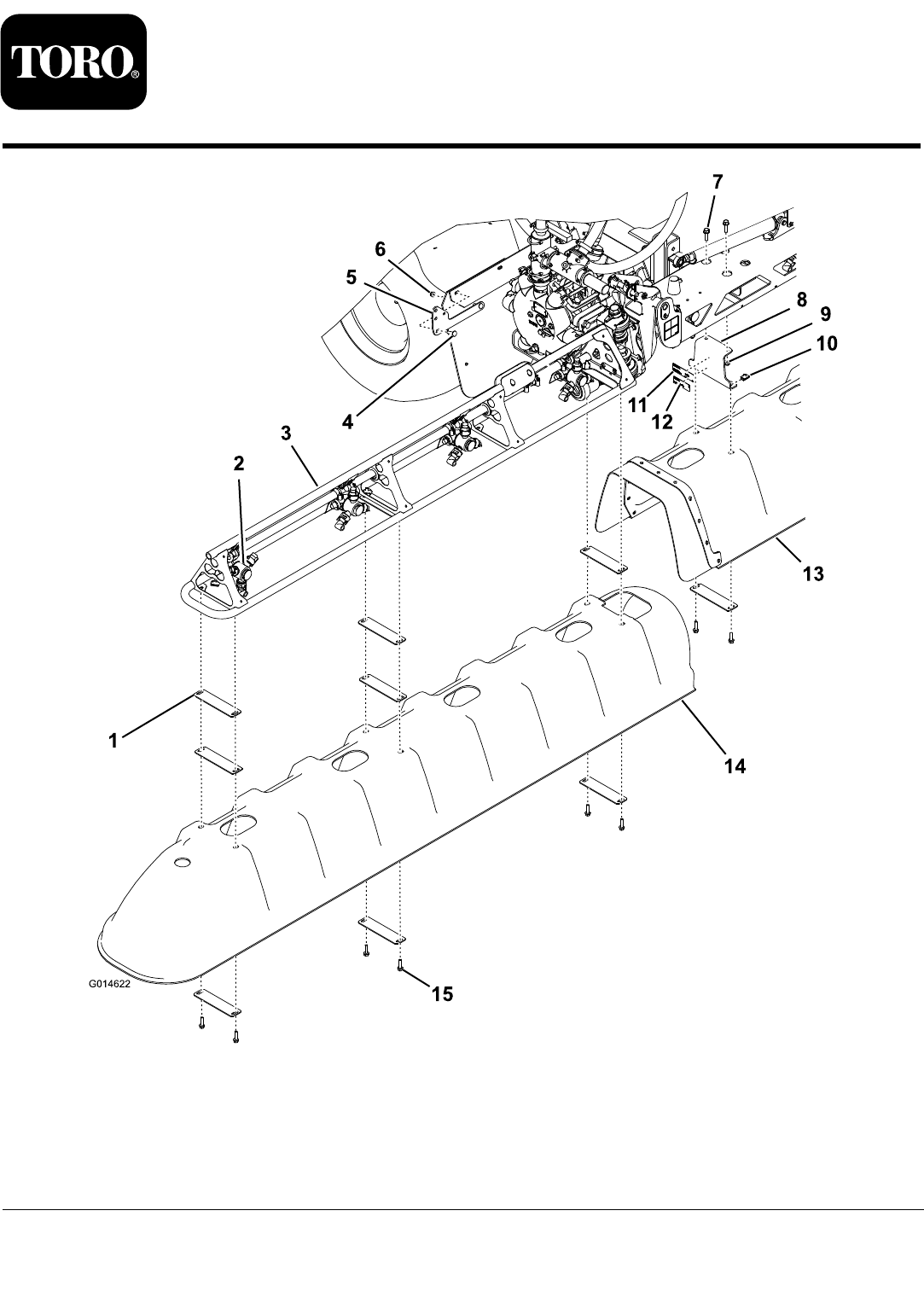
1.垫片(18)
6.凸缘螺母,5/16英寸(2)
11.型号/序列号标贴
2.喷嘴(方向正确)7.3/8x1-1/4英寸六角头螺丝(4)12.合规标贴
3.侧翼喷洒臂(2)8.中央喷洒臂支架(2)13.中央喷洒臂护罩
4.车身螺丝(2)
9.凸缘螺母,3/8英寸(4)
14.侧翼喷洒臂护罩(2)
5.排水阀安装支架
10.U形螺母(16)
15.5/16x1-1/4英寸六角头螺丝(16)
2011—The 2011—The
2011—The
Toro Toro
Toro
Company Company
Company
8111 8111
8111
Lyndale Lyndale
Lyndale
Avenue Avenue
Avenue
South South
South
Bloomington, Bloomington,
Bloomington,
MN MN
MN
55420 55420
55420
注 注
注
册 册
册
: :
:
www.Toro.com. www.Toro.com.
www.Toro.com.
译 译
译
文 文
文
(ZH) (ZH)
(ZH)
美 美
美
国 国
国
印 印
印
刷 刷
刷
保 保
保
留 留
留
所 所
所
有 有
有
权 权
权
利 利
利