Manual
Table Of Contents
- MP-20
- 2.pdf
- 6.pdf
- cover MP20.pdf
- cover MP20.pdf
- 2.pdf
- 6.pdf
- cover MP20.pdf
- 2.pdf
- 6.pdf
- Character mode
- 2Command Line mode
- Maximum number of letters printable on paper
- Start coordinate (x, y)
- Barcode direction
- Inter-character gap (dot)
- Narrow bar width (dot)
- Wide bar width (dot)
- Bar height (dot)
- With human-readable text
- Human-readable text font
- Human-readable text position
- Bx,y,rotate,height,withAscii,”text”\(

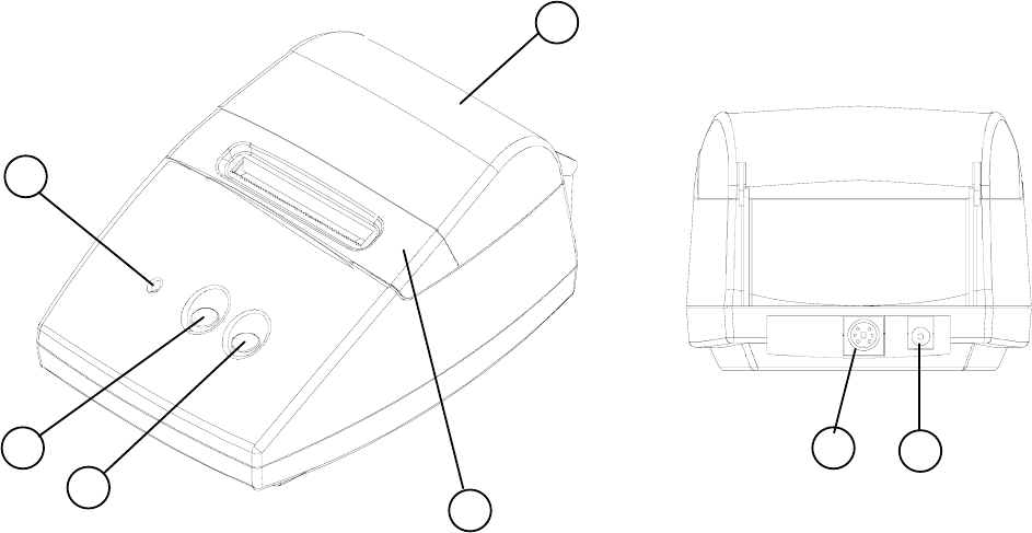
3. EXTERNAL APPEARANCE AND PART DESCRIPTIONS
3.1 External Appearance
1
5
2
3
4
6
7
3.2 Part Descriptions
1. DC Power Jack: Insert one end of the enclosed AC adapter here.
2. Power/Status Lamp: Lit when power is turned ON and goes out when
turned OFF. Also used to indicate system status. See Section 3.3.
3. CLR Key: Use this key to clear a steady Red Status condition.
4. LF/FF Key: Paper is fed by one line (LF) when key is pressed and
released. Paper is continuously fed (FF) when key is pressed and held.
5. Interface Connector: Printer is connected to various hosts via cables.
Please ensure that both the printer and the host are turned off before
connecting.
6. Printer Cover: Opened to replace paper roll.
7. Print Head Cover: Removed to replace paper roll.
3-1










