Instructions / Assembly

Installation & Assembly Instructions
Please contact our Customer Service Division with any questions at:
30700 D Carter Street ∙ Solon, OH 44139 ∙ (P) 440.248.5480 ∙ support@tritonproducts.com
For a full line of products visit www.tritonproducts.com 2 INDB702
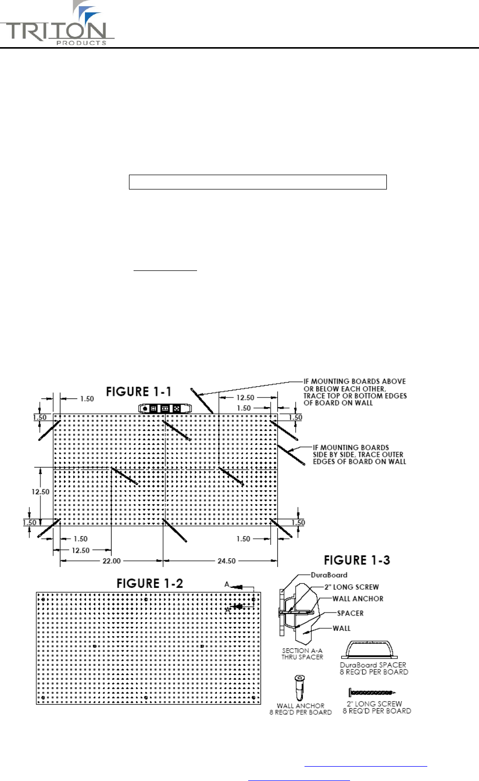
K) Slip steel wall spacers over each screw from the back of the pegboard as shown in diagram
1-3.
L) Insert each screw into its pre-installed wall anchor or assigned hole location. Using a #2
Phillips head screwdriver and starting from one of the top corner hole locations insert
screws halfway. (This will leave you enough play/flexibility to insert each screw properly.)
M) Once all 8 wood screws have been installed halfway, tighten all screws down to a point that
all spacers are snug against wall surface. (Always Avoid Over Tightening of Any Screw.)
Repeat installation Steps for remaining pegboard panels
3. Hook Installation: (Using a hand held Phillips head screwdriver)
A) Insert the hook engaging tab through any hole in the DuraBoard.
B) Align the hook screw hole with second hole in the DuraBoard.
C) Lock the DuraHook in place using the short Philips head screws with a hand held
screwdriver (non-powered.) Do not use 2” long wood screws as these are part of the
mounting hardware for the DuraBoard.
D) Do not over tighten screws used for mounting DuraHooks.
Note: All hooks can be mounted horizontally or vertically to store items and can be combined with
one another to create storage solutions for heavier, long, and odd shaped items and tools.
Liability: Triton Products liability is limited to 100% of the purchase price of the product.


