Instructions / Assembly

Assemble Positioning Template
3
Top
The center line of the
template represents
the center of your TV.
U2
Lay the template on the back of the TV and follow the instructions below.
Line up with top
of the screen.
Cut the template so it is flush with
the bottom of your TV so that when the
template is on the wall you can see
exactly where your TV will be vertically
(distance from the floor and ceiling).
U2
U2
U1
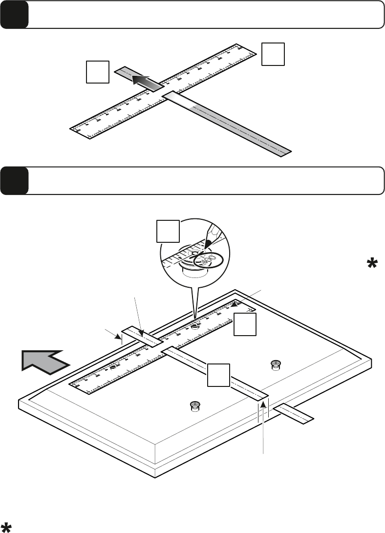
Determine Bracket Hole Centers
4
U1
U2
C
Top row holes
If hangers C do not line up with any holes on the template then ensure template is
firmly in position and punch 2 holes to match your top fixing centres with a pencil or
sharp object.
Place the top row of holes on
template U1 over hangers C.
Mark off the top fixing centres