Owner's manual
Table Of Contents
- Contents
- Safety information
- Note Ex-area
- 1 Product description
- 1.1 Function and configuration
- 1.3 Technical data
- 1.4 Approvals
- 1.5 Dimensions
- 1.6 Type plate
- 2 Mounting
- 2.1 Mounting instructions
- 3 Electrical connection
- 3.1 Connection instructions
- 3.2 Wiring plan
- 4 Set-up
- 4.1 General adjustment
- 4.2 Level detection
- 4.3 Continuous level measurement
- 5 Diagnosis
- 5.1 Simulation
- 5.2 Maintenance
- 5.3 Repair
- 5.4 Failure removal

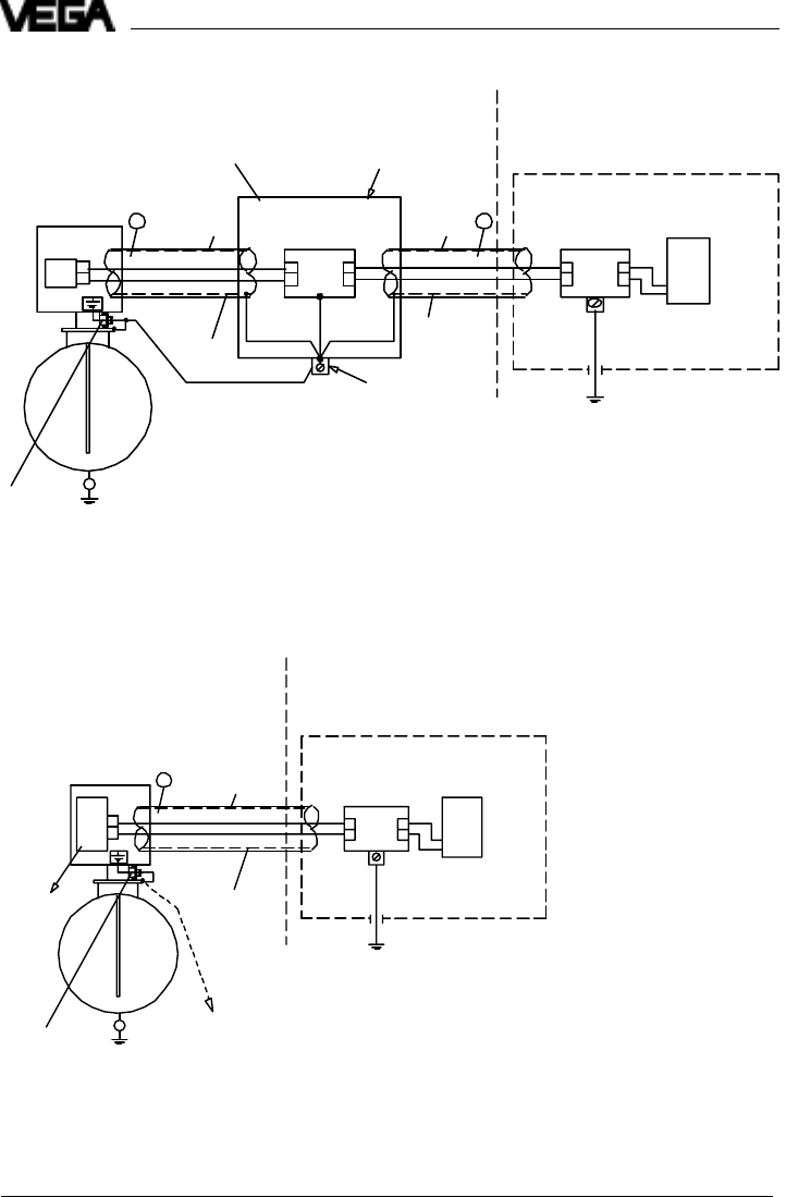
26 Capacitive electrodes EK with signal conditioning instrument
A1
A2E2
E1
1
2
Typ
B62-36G
A
Not-Ex-area
(control room)
optionally overvoltage arrester
Outer
isolation
Screen
Signal conditioning
instrument or safety
barrier
Cathodic corrosion protection
2 … 24 V (object voltage)
Note:
[A] Between control room and overvoltage
protection system a suitable cable, if
necessary with screen or metal cover, should
be used. Connect screen or metal cover - if
necessary - only to the electrode side of the
overvoltage protection system. With cathodic
corrosion protection the cable must be
provided with an outer isolation.
Ex-area
Electrode EK
External
earth
terminal
[1]
Vessel
Zone 0
Without cathodic corrosion protection: to
potential equalisation line
Electrical connection
Vessel with cathodic corrosion protection
E2
E1
A2
A1 A1
A2E2
E11
2
Typ
B62-36G
Typ
B62-36G
B A
Ex-area
Not-Ex-area
(control room)
optionally overvoltage arrester
Metal housing
mounted earth-free
optionally overvoltage arrester
B62 - 36 G Ex 0 (metal housing) or
B62 - 36 G Ex (plastic housing)
(L
i
= 0,15 mH, C
i
= 1,5 nF)
Electrode EK
Outer
isolation
Outer
isolation
Screen
Screen
Signal conditioning
instrument or safety
barrier
Earth / PA-connection
terminal
Cathodic corrosion protection
2 … 24 V (object voltage)
External
earth
terminal
Note:
[A] and [B] see "Vessel without cathodic corrosion protection“ on
the previous page.
min. 4 mm
2
Cu
Vessel
Zone 0
Capacitive electrode with integral overvoltage protection module
Vessel with/without cathodic corrosion protection










