Instruction Manual
Manuals
Brands
WIKA Manuals
Measuring instruments
CPC6000
11
12
13
14
15
16
17
18
19
20
Automated Pressur
e Calibrator
CPC 6000
2
0
Mensor/WIKA Operating Instructions - CPC 6000
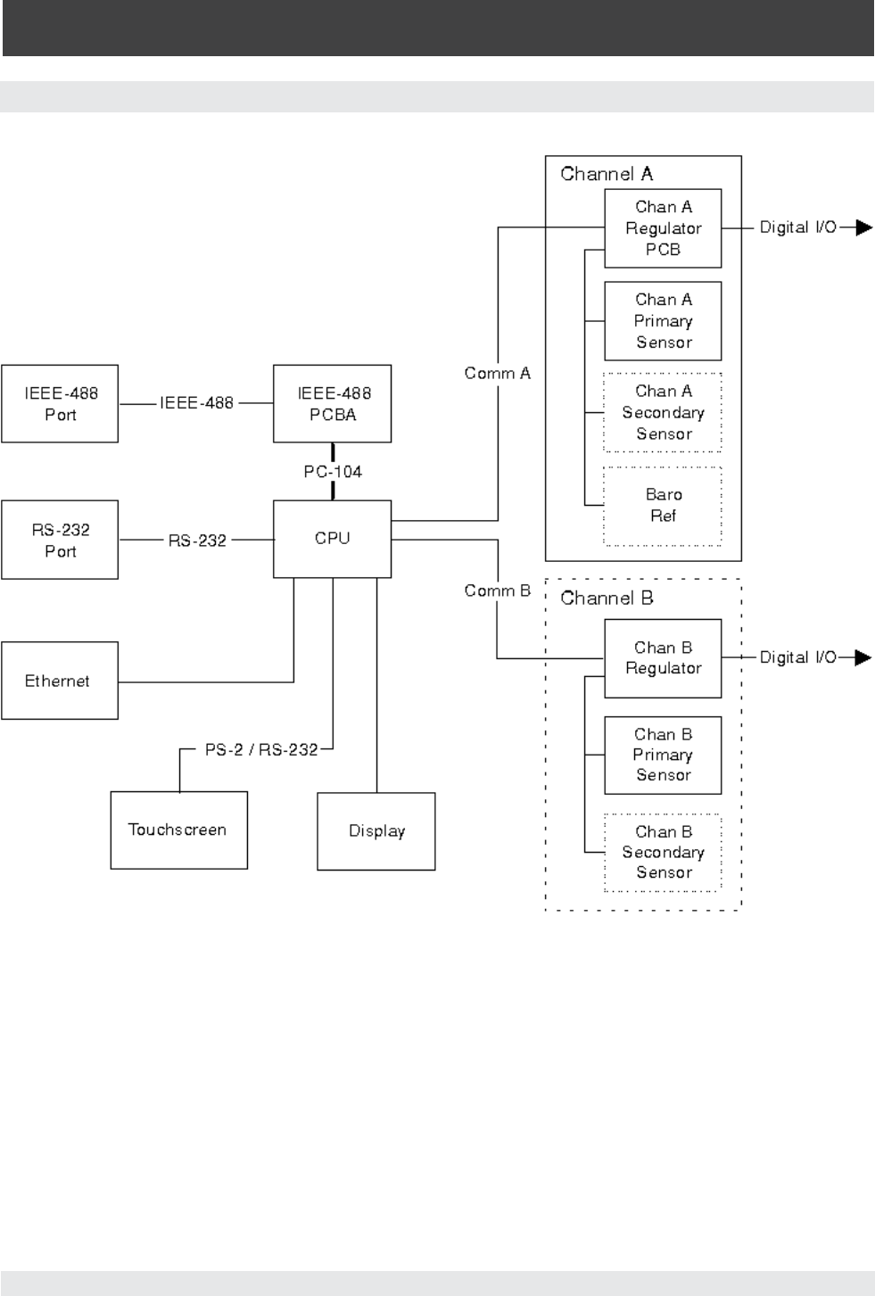
3.8 Electrical Block Diagram
Figure 3.8 - Electrical Block Diagram
1
...
...
18
19
20
21
22
...
...
104