Data Sheet

Kunde / customer :
Artikelnummer / part number :
Bezeichnung :
LAN-Übertrager WE-LAN 10G
description : LAN-Transformer WE-LAN 10G
DATUM / DATE : 2017-10-13
Designed für Applikationen bis 15W @57VDC Designed to support applications up to 15W @57VDC
wenn zwei Kanäle bestromt when using two channels
Designed für Applikationen bis 30W @57VDC Designed to support applications up to 30W @57VDC
wenn alle vier Kanäle bestromt when using four channels
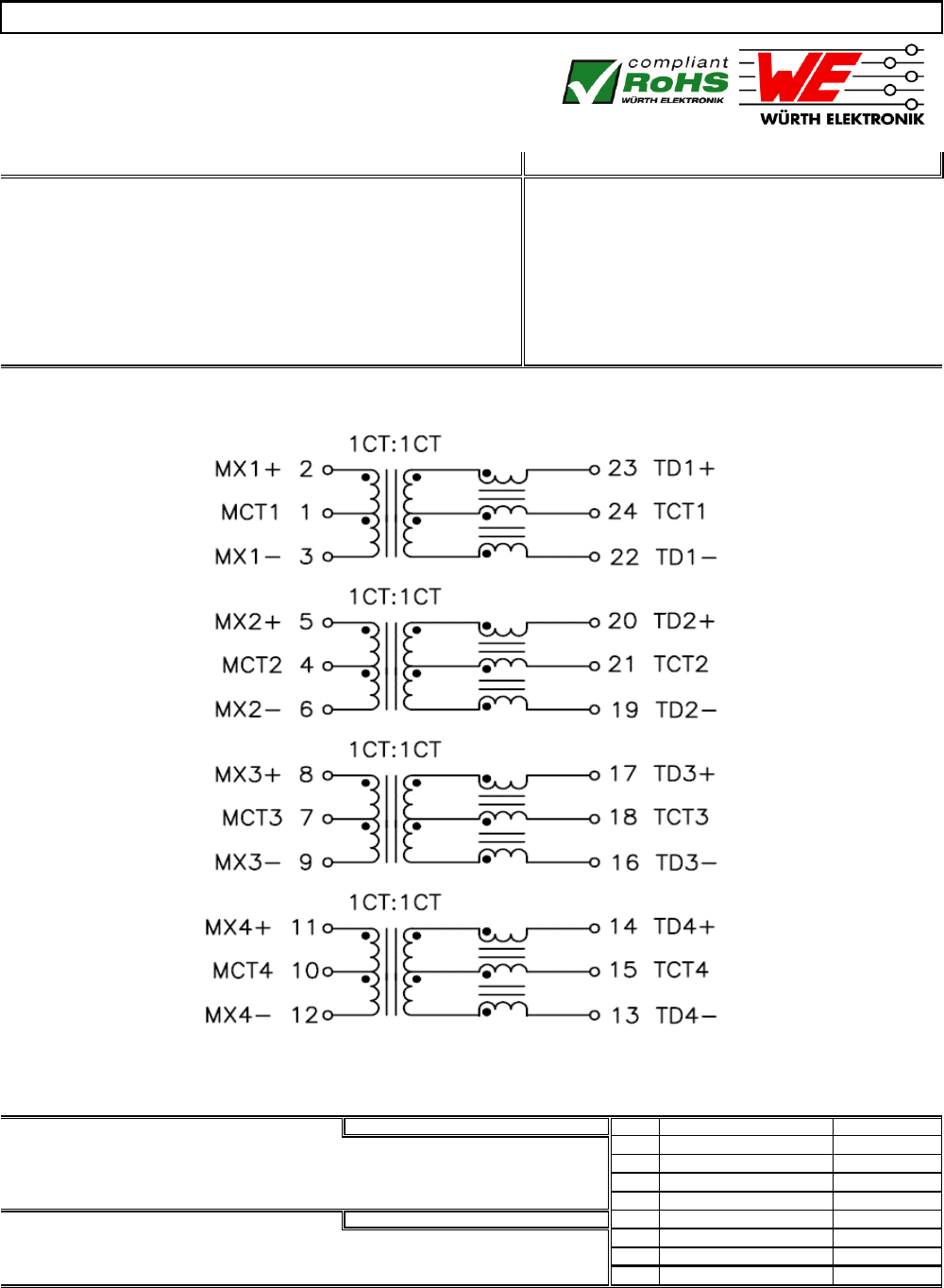
I Schaltbild / Schematics :
Freigabe erteilt / general release:
..................................................................................
Datum / date
JaB 2017-10-13
JaB 2016-08-09
...............................................
JLiu 2015-07-08
Geprüft / checked Name Datum / date
Version 00
H PoE Eigenschaften :
H PoE Specifications :
Spezifikation für Freigabe / specification for release
D-74638 Waldenburg · Max-Eyth-Straße 1 - 3 · Germany · Telefon (+49) (0) 7942 - 945 - 0 · Telefax (+49) (0) 7942 - 945 - 400
Würth Elektronik
Kunde / customer
Änderung / modification
Unterschrift / signature
Version 02
..................................................................................
Würth Elektronik eiSos GmbH & Co.KG
..................................................
Kontrolliert / approved
Version 01
749053013
http://www.we-online.com
This electronic component has been designed and developed for usage in general electronic equipment. Before incorporating this component into any equipment where higher safety and reliability is especially required or if
SEITE 2 VON 6