Replacement Part List
Manuals
Brands
Yardbeast Manuals
Chipper Shredders
3514 3.5 in. Chipper 14 HP Kohler CH440
1
2
3
4
22
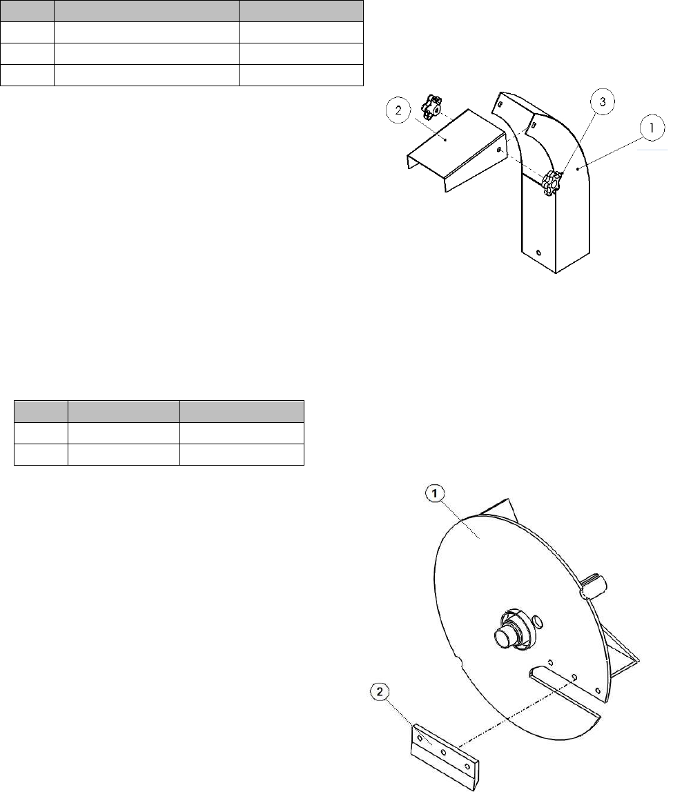
DISCHARGE NECK
ROTOR
No
Component
Part No.
1
Discharge
351415
2
Deflector
351416
3
Knob
351403
No
Component
Part No.
1
Rotor disc
351417
2
Blade
351401
1
2
3
4