Use, Care, and Installation Guide

13
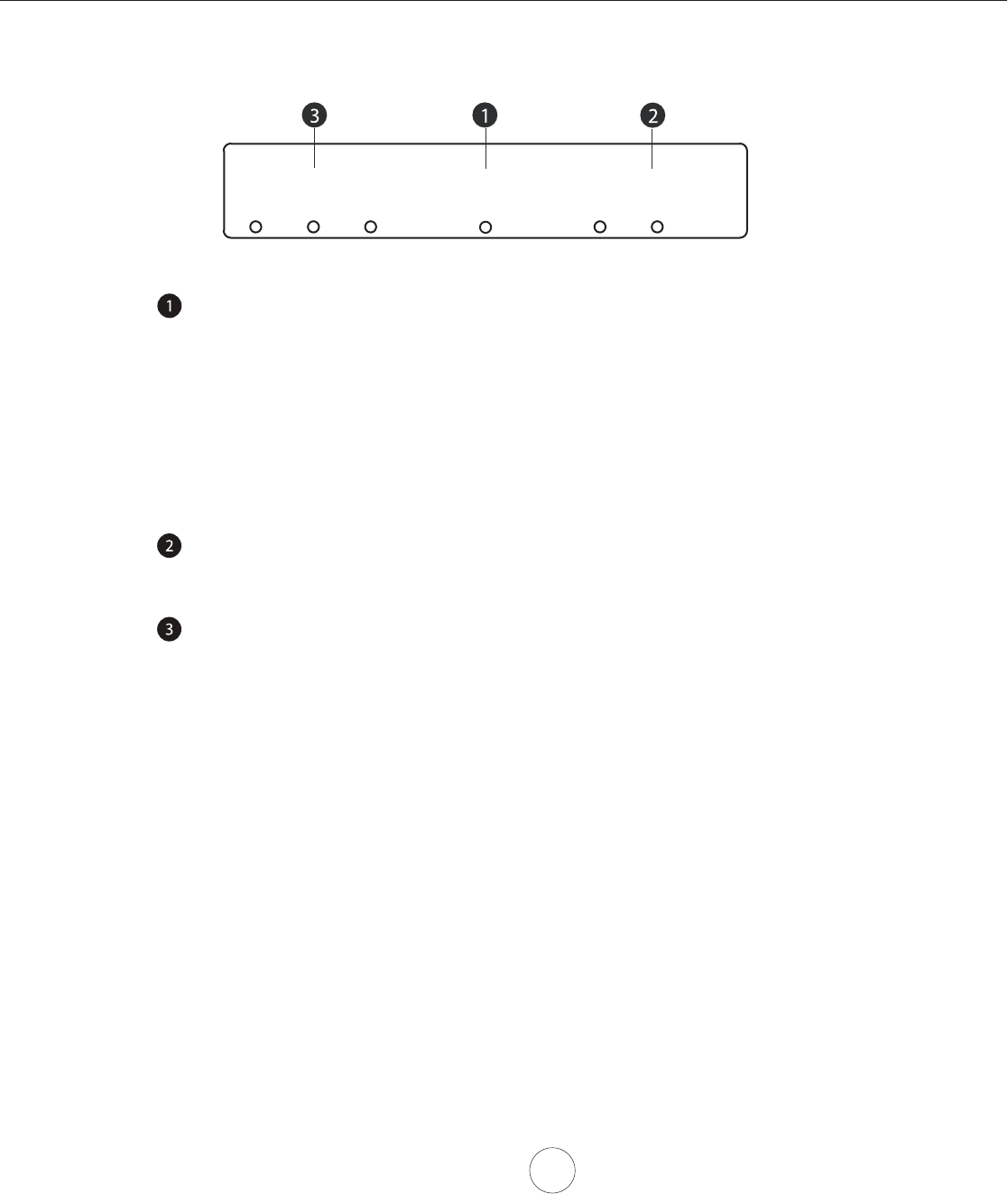
- On/O o button will turn power on and o for the entire hood (fan and lights).
- The hood will remember the last speed and light level it was last turned o at.
- Delay O Feature: With the fan on, press and hold the On/O button for three seconds. The fan
will change to speed 1 and automatically turn o after 5 minutes.
- ACT Feature: ACT allows the installer to set the maximum fan CFM to align with
local codes and regulations.
To verify the maximum fan CFM:
With hood o, press and hold the power button for ve seconds. If all three fan speed
indicators illuminate = default maximum CFM. If two speed level indicators illuminate
= 390 maximum CFM. If only one speed level indicator illuminates = 290 maximum CFM.
Lights are two levels, low and high. From o, press once for low, press again for high, press again to
power lights o.
Fan is three speed levels. From o, press once for low, press again for medium, press again for high,
press again to power fan o.
On / Off
Lights
Fan Speeds
On/Off
Lights
Fan
Features & Controls - Touch Controls










